家乐福中国公司成老赖被限高 被执行总金额超218万

消费
TIME
2023-07-07 14:12
K8·凯发
分享

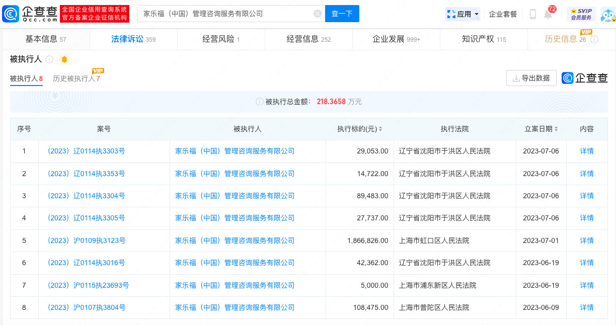
  据企查查APP显示,近日,因有履行能力而拒不履行生效法律文书确定义务,家乐福(中国)管理咨询服务有限公司被列为失信被执行人(老赖),并被限制高消费,涉及案件为仲裁案,此前该公司已因此案被强制执行10.84万。

  信息显示,家乐福(中国)管理咨询服务有限公司成立于1999年12月,法定代表人为陈杰,注册资本400万美元。风险信息显示,该公司存在多条被执行人信息,被执行总金额超218万元。

001Lvb9uly8hfoaeezxuij60y00hyjvp02.jpg

THE END
免责声明:本文系转载,版权归原作者所有;刊载之目的为传播更多信息,如内容不适请及时通知我们。

相关热点

  随着生成式人工智能与艺术家共同演绎的音乐秀开场,7月6日,以“智联世界 生成未来”为主题的2023世界人工智能大会在上海拉开帷幕。  世界顶级科学家、企业家、政府...
智能AI
  新华社北京7月6日电(记者郭宇靖、阳娜)记者从正在北京召开2023全球数字经济大会上了解到:截至今年5月底,我国已累计建成5G基站284.4万个,移动物联网终端用户超过20.5亿,...
业界

相关推荐

1
3